Каталог

Ширина колеи, мм
Вид стрелочного перевода

Проект 1686.00.000, Пересечение глухое тип Р50 марка 2/9

Технические характеристики:

Описание Предназначена для пропуска подвижного состава по двум взаимно пересекающимся в одном уровне путям. Острые крестовины сборные – литой сердечник соединён с рельсовыми усовиками. Тупые крестовины цельнолитые из высокомарганцовистой стали.
Ширина колеи, мм 1520
Полная длина, мм 34866
Максимальная статическая нагрузка на рельс, кН 245
Максимальная скорость движения, км/ч
30
Нормативный ресурс до снятия, млн. т
45
Максимальная длина отгрузочного места, мм 12500
Максимальная масса отгрузочного места, т 1,0
Масса (без брусьев), т не более 12

Проект 1683.00.000, Пересечение глухое тип Р65 марка 2/11

Технические характеристики:

Описание Предназначена для пропуска подвижного состава по двум взаимно пересекающимся в одном уровне путям. Острые крестовины сборные – литой сердечник соединён с рельсовыми усовиками. Тупые крестовины цельнолитые из высокомарганцовистой стали.
Ширина колеи, мм 1520
Полная длина, мм 36364
Максимальная статическая нагрузка на рельс, кН 245
Максимальная скорость движения, км/ч
40
Нормативный ресурс до снятия, млн. т
65
Максимальная длина отгрузочного места, мм 12500
Максимальная масса отгрузочного места, т 1,2
Масса (без брусьев), т не более 15

Проект 204.000.00, Пересечение глухое тип Р65 марка 2/5

Технические характеристики:

Описание Предназначено для пропуска подвижного состава по двум взаимопересекающимся в одном уровне промышленным железнодорожным путям. Пересечение глухое комплектуется цельнолитыми крестовинами из высокомарганцовистой стали марки 110Г13Л.
Ширина колеи, мм 1524
Полная длина, мм 10520
Максимальная статическая нагрузка на рельс, кН 515
Максимальная скорость движения, км/ч
15
Нормативный ресурс до снятия, млн. т
90
Максимальная длина отгрузочного места, мм 3520
Максимальная масса отгрузочного места, т 1,112
Масса (без брусьев), т не более 5,288

Проект 202.000.00, Пересечение глухое тип Р65 марка 2/7

Технические характеристики:

Описание Предназначено для пропуска подвижного состава по двум взаимопересекающимся в одном уровне промышленным железнодорожным путям. Пересечение глухое комплектуется цельнолитыми крестовинами из высокомарганцовистой стали марки 110Г13Л.
Ширина колеи, мм 1524
Полная длина, мм 14124
Максимальная статическая нагрузка на рельс, кН 515
Максимальная скорость движения, км/ч
30
Нормативный ресурс до снятия, млн. т
100
Максимальная длина отгрузочного места, мм 4010
Максимальная масса отгрузочного места, т 1,38
Масса (без брусьев), т не более 6,822

Проект 203.000.00, Пересечение глухое тип Р65 марка 2/7

Технические характеристики:

Описание Предназначено для пропуска подвижного состава по двум взаимопересекающимся в одном уровне промышленным железнодорожным путям. Пересечение глухое комплектуется цельнолитыми крестовинами из высокомарганцовистой стали марки 110Г13Л.
Ширина колеи, мм 1524
Полная длина, мм 14294
Максимальная статическая нагрузка на рельс, кН 515
Максимальная скорость движения, км/ч
30
Нормативный ресурс до снятия, млн. т
100
Максимальная длина отгрузочного места, мм 5621
Максимальная масса отгрузочного места, т 1,38
Масса (без брусьев), т не более 9,39

Проект 208.000.00, Пересечение глухое тип Р65 марка 2/7

Технические характеристики:

Описание Предназначено для пропуска подвижного состава по двум взаимопересекающимся в одном уровне промышленным железнодорожным путям. Пересечение глухое комплектуется цельнолитыми крестовинами из высокомарганцовистой стали марки 110Г13Л.
Ширина колеи, мм 1524
Полная длина, мм 21725
Максимальная статическая нагрузка на рельс, кН 515
Максимальная скорость движения, км/ч
30
Нормативный ресурс до снятия, млн. т
100
Максимальная длина отгрузочного места, мм 9370
Максимальная масса отгрузочного места, т 1,38
Масса (без брусьев), т не более 10,325

Проект 1684.00.000, Пересечение глухое тип Р65 марка 2/9

Технические характеристики:

Описание Предназначена для пропуска подвижного состава по двум взаимно пересекающимся в одном уровне путям. Острые крестовины сборные – литой сердечник соединён с рельсовыми усовиками. Тупые крестовины цельнолитые из высокомарганцовистой стали.
Ширина колеи, мм 1520
Полная длина, мм 34606
Максимальная статическая нагрузка на рельс, кН 245
Максимальная скорость движения, км/ч
40
Нормативный ресурс до снятия, млн. т
65
Максимальная длина отгрузочного места, мм 12500
Максимальная масса отгрузочного места, т 1,2
Масса (без брусьев), т не более 15

Проект 501-183.000, Пересечка стапельного пути тип Р50

Технические характеристики:

Описание Предназначена для пропуска подвижного состава по двум взаимно пересекающимся в одном уровне железнодорожным и стапельным путям. Конструкция пересечения – сборная. Крестовина цельнолитая из высокомарганцовистой стали.
Ширина колеи, мм 1520
Полная длина, мм 3170
Максимальная скорость движения, км/ч
5
Максимальная длина отгрузочного места, мм 1580
Максимальная масса отгрузочного места, т 0,3
Масса (без брусьев), т не более 1,2

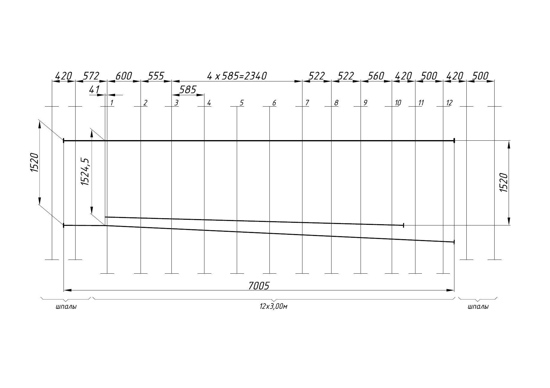
Проект 2663.000, Стрелка сбрасывающая типа Р65

Технические характеристики:

Описание Предназначена для предотвращения случайных выходов подвижного состава на пути, по которым осуществляется организованное движение поездов и является ограждающим устройством. Применяется на железнодорожных линиях и путях промышленных предприятий.
Ширина колеи, мм 1520
Вид стрелочного перевода сбрасывающая
Полная длина, мм 7005
Максимальная статическая нагрузка на рельс, кН 250
Максимальная скорость движения, км/ч
40
Нормативный ресурс до снятия, млн. т
300
Максимальная длина отгрузочного места, мм 7005
Максимальная масса отгрузочного места, т 1,5
Масса (без брусьев), т не более 2,5

Проект 2884.00.000, Стрелка сбрасывающая тип Р65

Технические характеристики:

Описание Предназначена для предотвращения случайных выходов подвижного состава на пути, по которым осуществляется организованное движение поездов и является ограждающим устройством. Применяется на железнодорожных линиях со смешанным грузопассажирским движением поездов.
Ширина колеи, мм 1520
Вид стрелочного перевода сбрасывающая
Полная длина, мм 8000
Максимальная статическая нагрузка на рельс, кН 250
Максимальная скорость движения, км/ч
50
Нормативный ресурс до снятия, млн. т
300
Максимальная длина отгрузочного места, мм 8000
Максимальная масса отгрузочного места, т 1,5
Масса (без брусьев), т не более 3,0

Проект ПСТ.30.000.00, Перевод стрелочный трамвайный

Технические характеристики:

Описание Предназначен для перевода трамваев с одного пути на другой. Стрелка и крестовина выполнена из высокомарганцовистой стали.
Ширина колеи, мм 1524
Вид стрелочного перевода обыкновенный
Полная длина, мм 11002
Радиус бокового пути, мм
стрелки 30000
переводной кривой 31683
крестовины 28424
Максимальная скорость движения, км/ч
по прямому пути 40
по боковому пути 10
Максимальная длина отгрузочного места, мм 4000
Максимальная масса отгрузочного места, т 2,1
Масса (без брусьев), т не более 3,0

Проект 2814.00.000, Стрелочный перевод тип 60E1 марка 1/9

Технические характеристики:

Ширина колеи, мм 1435
Вид стрелочного перевода UIC 60
Полная длина, мм 33 230
Максимальная скорость движения, км/ч
120 по прямому пути, км/ч
50 по боковому пути, км/ч
Максимальная длина отгрузочного места, мм 14 248
Масса (без брусьев), т не более 14

Проект 6244.000.00, Стрелочный перевод тип Р24 марка 1/4

Технические характеристики:

Описание Узкоколейный перевод, предназначенный для использования в шахтах, на предприятиях лесной и торфяной промышленности. Остряк выполнен из рельсового проката. Крестовина цельнолитая из высокомарганцовистой стали.
Ширина колеи, мм 600
Вид стрелочного перевода обыкновенный
Полная длина, мм 7027
Радиус бокового пути, мм
12300
Максимальная скорость движения, км/ч
по прямому пути 9
по боковому пути 6
Максимальная длина отгрузочного места, мм 4300
Максимальная масса отгрузочного места, т 0,4
Масса (без брусьев), т не более 1,5

Проект 7244.000.00, Стрелочный перевод тип Р24 марка 1/4

Технические характеристики:

Описание Узкоколейный перевод, предназначенный для использования в шахтах, на предприятиях лесной и торфяной промышленности. Остряк выполнен из рельсового проката. Крестовина цельнолитая из высокомарганцовистой стали.
Ширина колеи, мм 750
Вид стрелочного перевода обыкновенный
Полная длина, мм 7630
Радиус бокового пути, мм
12375
Максимальная скорость движения, км/ч
по прямому пути 9
по боковому пути 6
Максимальная длина отгрузочного места, мм 4300
Максимальная масса отгрузочного места, т 0,4
Масса (без брусьев), т не более 1,5

Проект 9244.000.00, Стрелочный перевод тип Р24 марка 1/4

Технические характеристики:

Описание Узкоколейный перевод, предназначенный для использования в шахтах, на предприятиях лесной и торфяной промышленности. Остряк выполнен из рельсового проката. Крестовина цельнолитая из высокомарганцовистой стали.
Ширина колеи, мм 900
Вид стрелочного перевода обыкновенный
Полная длина, мм 8236
Радиус бокового пути, мм
12450
Максимальная скорость движения, км/ч
по прямому пути 9
по боковому пути 6
Максимальная длина отгрузочного места, мм 4300
Максимальная масса отгрузочного места, т 0,4
Масса (без брусьев), т не более 1,6

Проект 6245.000.00, Стрелочный перевод тип Р24 марка 1/5

Технические характеристики:

Описание Узкоколейный перевод, предназначенный для использования в шахтах, на предприятиях лесной и торфяной промышленности. Остряк выполнен из рельсового проката. Крестовина цельнолитая из высокомарганцовистой стали.
Ширина колеи, мм 600
Вид стрелочного перевода обыкновенный
Полная длина, мм 8251
Радиус бокового пути, мм
20300
Максимальная скорость движения, км/ч
по прямому пути 9
по боковому пути 6
Максимальная длина отгрузочного места, мм 5000
Максимальная масса отгрузочного места, т 0,4
Масса (без брусьев), т не более 1,5

Проект 7245.000.00, Стрелочный перевод тип Р24 марка 1/5

Технические характеристики:

Описание Узкоколейный перевод, предназначенный для использования в шахтах, на предприятиях лесной и торфяной промышленности. Остряк выполнен из рельсового проката. Крестовина цельнолитая из высокомарганцовистой стали.
Ширина колеи, мм 750
Вид стрелочного перевода обыкновенный
Полная длина, мм 9008
Радиус бокового пути, мм
20375
Максимальная скорость движения, км/ч
по прямому пути 9
по боковому пути 6
Максимальная длина отгрузочного места, мм 5000
Максимальная масса отгрузочного места, т 0,4
Масса (без брусьев), т не более 1,6

Проект 9245.000.00, Стрелочный перевод тип Р24 марка 1/5

Технические характеристики:

Описание Узкоколейный перевод, предназначенный для использования в шахтах, на предприятиях лесной и торфяной промышленности. Остряк выполнен из рельсового проката. Крестовина цельнолитая из высокомарганцовистой стали.
Ширина колеи, мм 900
Вид стрелочного перевода обыкновенный
Полная длина, мм 9764
Радиус бокового пути, мм
20450
Максимальная скорость движения, км/ч
по прямому пути 9
по боковому пути 6
Максимальная длина отгрузочного места, мм 5000
Максимальная масса отгрузочного места, т 0,4
Масса (без брусьев), т не более 1,6

Товары 1 - 18 из 216
Начало | Пред. | 1 2 3 4 5 | След. | Конец